Call Toll Free: 1-800-882-4959
Please Ask for Internet Sales
Diamond Products - CC4144D Concrete Saw with Differential Drive

CC6540 Concrete Saw

Electric concrete saw with easy access blade drive allows quick speed adjustments.

The CC6540 saw has been DISCONTINUED

Please compare Diamond Products concrete saw models CC3700 and CC7200 to your job needs.

  • Model / Part No.
  • Specifications
  • Dimensions

Model No.
Part No.

Engine Type

Blade
Capacity
Cutting Depth

Cessco Price

Ship
Wt lbs
CC6540E-8-20
5800187A
40 HP Lincoln Electric 460V
20"
7-5/8"
Discontinued 1515
CC6540E-8-20
5800187B
40 HP Lincoln Electric 575V
20"
7-5/8"
  1515
CC6540E-8-26
5800045A
40 HP Lincoln Electric 460V
26"
10-5/8"
  1525
CC6540E-8-26
5800045B
40 HP Lincoln Electric 575V
26"
10-5/8"
  1525
CC6540E-8-30
5800070A
40 HP Lincoln Electric 460V
30"
11-3/4"
  1540
CC6540E-8-30
5800070B
40 HP Lincoln Electric 575V
30"
11-3/4"
  1540
CC6540E-8-36
5800046A
40 HP Lincoln Electric 460V
36"
14-3/4"
  1550
CC6540E-8-36
5800046B
40 HP Lincoln Electric 575V
36"
14-3/4"
  1550
Electric saws include motor starter switch box. Customer must specify required voltage for two phases,
(Quick-release Bladeshaft/flange, Slip-on Blade Guard, Quick-Release Rear Wheels and Double Concave Roller Bearings are standard on all CC6500 models)
Maximum Depth of Cut: 
14-3/4"
(19-3/4" with optional 48" conversion kit)
Blade Shaft Diameter: 
1-3/4"
Arbor Diameter: 
1" with single drive pin
Blade Shaft Bearings: 
Self-aligning double concave roller
Blade Shaft Drive: 
8 or 10 belt
Blade Mounting: 
Right or left
Blade Raise and Lower:
Electro-hydraulic pump
Blade Coolant: 
Dual multi-spray tubes
Blade Guard Attachment: 
Slip-on through 30", Bolt-on 36" and up
Front Wheel Dimensions: 
8" x 3" x 1"
Rear Wheel Dimensions: 
10" x 3" x 1-1/4"
Handle Bars: 
Tilt
Transmission: 
Sundstrand-Sauer or Eaton Model 10
Drive Speed: 
0-200 feet per minute
Air Filter: 
4 stage
Fuel Capacity: 
9 gallons
Electric Start: 
Standard
High Temperature Shut-Off: 
Standard
Low Oil Alert: 
Pressure gauge
Hour Meter: 
Standard
Tachometer: 
Optional
Amp Meter: 
Standard
Cutting Depth Indicator: 
Standard
Quick Disconnect
Blade Flanges:
Standard
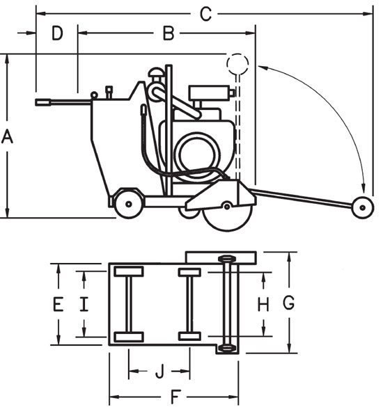
Diamond Products - CC6500 Concrete Walk Behind Saw
Saw Height 
52-5/8"
Min Length Pointer Up, Handle In 
62-1/2"
Max Length Pointer Down, Handle Out 
124"
D
Handle Extension 
24"
Frame Width 
27-5/8"
Frame Length 
49-1/2"
Saw Width 
36"
Front Axle Center Length 
21-3/4"
Rear Axle Center Length
24-1/2"
Wheel Base Length
23-7/8"
Blade Shaft Max Height 
19-1/2"
 
Crated Saw Dimensions:
65" long x
40" wide x
60" high
Diamond Products - CC6500 Walk Behind Concrete Saw Dimensions